你可能做了一个小程序,也做了很多推广。
然后查看了后台的一些数据:
有访问本地也有外地;
有男粉丝也有女粉丝;
有青年才俊,也有中年大叔;
有iPhone也有安卓;
有的页面访问人数比较多,有的页面访问人数比较少;
有的停留了很久,有的点开就关闭了;
有人访问一次再也没来过,有人进行了多次访问;
有人通过好友的分享进入,有人通过扫描二维码进入,有人主动在搜索框进行了搜索,有人在历史列表频繁进入,甚至有人把小程序置顶在聊天页面;
有的按钮被点击多次,有的按钮却少有人问津(这个看不见,需要预先设定自定义分析字段,后面会讲)
那么,每个数据代表了什么?有什么指导意义?

今天我们就起底小程序的数据分析功能,分析那些躺在我们后台的数据,如何支撑我们的运营推广和功能优化。
毕竟在座的各位都是高端运营,依次介绍每一个数据指标的意义并没有什么意义。所以我将从实际需求出发,逐一分析各个指标以及它们相互组合所展示的价值。

Q1:花了这么多精力做宣传,效果到底怎么样?
最直观的指标莫过于访问数量。
点击“数据分析—访问分析”可以查看“最近7天”、“最近30天”以及自定义时间段的小程序访问情况。

从数据看,该小程序在11月24日出现一次峰值,本月20、21日预计将出现第二次峰值。
假设我们在11月24日做了一次推广,那如何确定此次推广效果如何呢?
访问分析还有另外一个功能:按时间对比。
选择11月1日-24日的访问次数,与11月24日到今天的访问次数做对比:

绿色为活动之后的曲线,蓝色为之前的曲线。对比两张图可以看出,活动之后的曲线大部分时候是高于活动之前的。
此部分功能中,“打开次数”只是其中一个维度,还有访问次数、访问人数、新用户数、人均停留时长等多个指标,各指标的意义可点击改图标右上角的
了解。

Q2:用户从哪里来?到哪里去?
上一个问题解决了用户有没有增长的问题,接下来我们需要思考:用户确实增长了,但他们是因为推广而来么?
你可能发了一些小程序码,也可能分享到了很多群,或者在大V的公众号中做了露出。如果流量暴增,除了高兴,我们还应该知道,以上的推广方法,哪一种是最好的。
下面就用到“来源分析”这个功能。
前段时间很多文章给出了小程序目前的入口,总结过程似乎都“熬长了黑夜,搔短了白头”,但其实,小程序早已把所有的入口都告诉我们了:

以上入口是官方写在数据分析功能内的,运营者可以通过选择查看来自各个入口的用户数量。

该小程序的近30天的用户来源分布
通过此图可以看出该小程序的用户忠诚度很高,历史列表的访问次数排在第一位;来源第二的为模板消息,我们可以认为唤醒对于小程序的二次访问非常有效;其他依次为会话(聊天界面中)、其他小程序返回(该小程序做了优秀小程序推荐,用户可通过该小程序直接进入其他小程序)等。
如果需要精细化分析,该模块还提供了每一个来源的单独分析,可查看各时间段的来源变化趋势。

此部分功能支持数据下载,运营者可以分别下载各个入口的小程序数据,合并在Excel中做每天的数据对比。

分析每个入口的流量变化趋势可以发现历史列表较稳定,模板消息在上月低有一次峰值,会话则波动较明显(毕竟是用户主动行为,不可控是正常的)。
除了上面分析的各个入口外,大家还可以根据自己的运营方案做公众号主页、公众号文章、搜索甚至聊天界面置顶等多个入口的观察分析,此处不一一展开。
解决了用户从哪里来,我们还要研究用户来了之后体验如何的问题。如果只关注流量,不考虑留存,肯定不是长久之计。
关于用户体验好感度,我们可以使用访问分析的“访问时长”、“访问深度”和“访问页面”三个指标来考察。
访问时长:代表了用户对你小程序的喜爱程度,停留时间越长,表示你的小程序对用户得吸引力越大。
访问时长有两个指标:人均时长和次均时长。两者意义差别不大,前者代表了小程序对每个人的吸引力,后者代表了小程序对每一次访问的吸引力。

除此以外,我们还可以查看访问时长的人数分布来查看小程序的整体吸引力情况。

上图可以看出该小程序有明显的人群特色:以20s为分水岭,上下各出现阶梯式下降。我们可以猜测,20s以上的用户为重度忠诚用户,此类用户已停留50-100s为主;20s以下为“观光客”用户,停留20s最长,以此递减。
我们可以做个猜测,一个“观光客”用户在完成20s的浏览后不能继续发现小程序的价值则离开,重度忠诚用户则直达兴趣点,停留超过50s。
小程序的设计者可以尝试找到这两类用户,找到从20s突破到50s的点。
新增留存:表征了用户访问小程序以后的再次访问的概率。这是大家使用最多的一个图,这个指标比停留时长更能表示小程序对用户的吸引力。这个指标的提出,给运营者带来了更大压力:活动当日流量很高,但7日后留存很低的话,活动似乎不应该称之为成功……
此部分包含两个分指标:新增留存和活跃留存。考察活动效果,一般以新增留存为KPI;考察用户粘性,则可选择活跃留存。

正常情况下,活跃留存会高于新增留存。如果给老板看,你懂的……
访问页面:是指小程序各个页面的访问人数。这个指标中给出的数据包含的信息量非常大,对小程序设计的指导意义也很强,建议大家仔细阅读。

此部分给出了每个页面的访问人数、访问次数、次均时长、入口页次数、退出页次数、退出率、分享次数、收藏次数。我们重点讲次均时长、入口页次数和退出页次数。
次均时长:用户每次访问该页面停留的时长。如果该页面停留时长远高出其他页面,那可能有两种情况:这个页面内容多很有趣;这个页面很难搞懂。所以时间长并不代表一定是好的。
入口页次数:该页面作为用户进入小程序页面的次数。如果该页面的入口页次数高于小程序首页的次数,那你可能要考虑一下是不是要优化一下小程序的页面规划了。一般情况下,如果该指标与“分享次数”和“收藏次数”的变化幅度相同,则说明该页面对用户有足够的价值。但如果变化幅度不同,你就要考虑,是不是有人悄悄把这个页面插入到他的公众号文章里了……
退出页次数:用户在此页面退出小程序的次数。这个指标的意义大家想必已经很清楚了,用户在此页面退出了你的小程序,要么该页为小程序功能的结果页,要么在这个页面用户厌烦了你的小程序。
访问深度:与访问时长相同,访问深度也有一个summary,该指标同样表征了用户对小程序的探索分布。

上图我们可以看出,用户主要探索1个页面后退出,明显的“观光客”特质。有趣的是有不少的用户会持续探索6-10个页面,设计者同样可找出各部分用户做访谈,找到退出或继续探索的原因,继而优化小程序的设计。

Q3:用户是谁?
前面两个问题都是从小程序出发去分析用户的行为,这个问题我们则从用户出发。
小程序提供的数据纬度比公众号更加丰富,比如提供了精准的用户年龄分布。数据分析中的用户画像功能可以帮我们深入了解我们的用户。该功能提供了性别、年龄、地域和终端机型四个基本维度。作为资深运营,各位对他们的熟悉程度已经不需要我再做过多讲解。
比如,一个母婴类的小程序如果用户年龄段集中在18-24岁,那你肯定知道推广出问题了;
比如,一个本地生活服务类小程序如果用户地域分布集中在外省,那你肯定也知道推广出问题了;
再比如,一个果粉类小程序,如果你的用户安卓机型高于iPhone,那你肯定得想想,是不是可以接一波苹果的广告了(醒一醒!)

Q4:这个按钮有用么?这个页面男粉丝访问多还是女粉丝访问多?这个商品购买漏斗是什么样的?
细节决定成败,高端运营绝不会拘泥于基本的数据分析。概况数据只能了解一个基本面,而深度的优化需要了解每一个按钮的点击概率、了解每一个页面的用户类型分布、了解每一件商品从浏览到购买整个环节的流逝情况。
这就需要祭出小程序数据分析的神器——自定义分析。
自定义分析的文档是这样介绍自己的:
自定义分析支持灵活多维和近实时的用户行为分析,可以通过自定义上报,对用户在小程序内的行为做精细化跟踪,满足页面访问等标准统计以外的个性化分析需求。例如,电商类小程序通过配置自定义上报,收集数据,可以完成如下分析:
购买商品的人,各省份、城市、年龄、性别的分布如何?不同用户群购买的商品数量、商品价格有什么差别?
用户访问商品页、查看商品详情、查看评论、下单、支付、完成购买,逐步的转化率如何?不同用户群的转化是否有差异?
今天参与线上活动的用户,各个时段(小时级)的活跃度如何?
简单说,自定义分析就是可以针对需求,单独监控小程序内的每一个页面和元素,分别并给出不同用户的访问数据。
事件分析
下图为我为“守望轩”小程序设置的banner轮播图、搜索框和导航栏三个元素的实时监控自定义分析事件。

可以分析每一个事件指定时间内以小时为粒度的城市、性别、设备型号、系统版本等多个维度的数据。

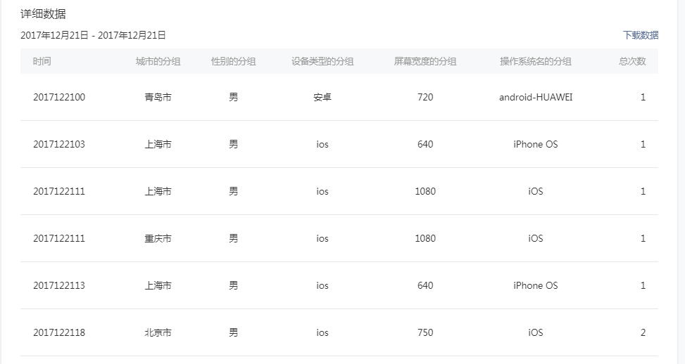
查询后,可获得小程序在当天各维度下的访问数据分布,运营者可导出数据到Excel,做更详尽的图表展示。

导出数据后,我们分析发现1080屏幕宽度的手机访问该按钮的比例最高,占到62%,不考虑机型数量的情况下,我们可以猜想:是否按钮设置太小,小屏幕手机很难点击到呢?

更好玩的,我们可以结合该页面的访问数量,制作页面按钮的热力图!

此图仅为实例,大家有兴趣可使用headmap.js开源插件自行制作
漏斗分析
除了对单个按键、页面的分析外,对于电商类小程序,大家或许更关注商品的漏斗数据,即从浏览到完成购买的整个流程,用户的流失情况。通过分析各个环节的用户数量,可将导致用户未完成购买的原因定位到具体的环节。
漏斗分析的关键在于环节的串联,即将前面分析的各个事件串联起来。由于没有电商类小程序后台权限,下面将用小程序的官方示例做讲解。
首选需要创建一个漏斗分析,分析的对象为上文提到的事件。
以电商为例,为要分析的商品各购买环节创建分析事件(比如商品页数据监控、加入购物车按钮数据监控、支付页数据监控三个事件)。在漏斗分析中依次选择三个事件。

此环节可选择分析的维度,默认则收集全部维度数据(性别、城市、机型等)。创建完成后由管理员或开发者测试漏斗(也可以不测试直接发布),发布后系统即开始对购买环节的三个事件数据做收集。

上图为官方文档中的数据,整个环节流失率在50%以下,可以说流程很顺滑了。各环节之间流失率等比下降,没有突增和突降,说明各环节之间没有产品设计营方面的问题。
运营者可根据需要,筛选不同维度的数据导出到Excel做更详细的数据分析。
篇幅有限,无法更细化的解读每一个数据表达的意义。大家可加入新榜组建的小程序群,与上百位一线小程序开发者探讨小程序数据更深入的解读。
最后,感谢守望轩小程序开发者给予的信任,为我开放了后台登录权限,让我能更深入的了解各数据指标的现实意义。
注:本文系投稿,作者张佳,所述观点不代表公众号立场。欢迎小伙伴们踊跃来稿:editor@newrank.cn。稿酬从优!
P.S. 榜妹新建了一个小程序交流群,欢迎各位扫码添加榜妹小药丸(ID:banggebangmei)入群讨论~

记得备注姓名+小程序名称+地区哦

如果您想即刻拥有自己的小程序,欢迎选择“靠谱小程序”(菜花传媒)——不需要懂代码,点点鼠标在线申请,多款模板可选。
“靠谱小程序”有一键生成、无需开发、在线管理和智能分析等特点,在其官网申请、注册,短短几分钟内便能免费体验专属的靠谱小程序。(www.koopoo.top)



















